欢迎您的来电
18233792093
产品分类
PRODUCT CATEGORY电动闸阀


产品TAG
我公司是生产电动闸阀的厂家,泊头阀门公司拥有生产电动闸阀的经验和技术,,质量,欢迎来电咨询产品、洽谈合作!
一、Z945X电动软密封闸阀概述
可根据用户的要求配装各种电动执行机构,实现远距离控制及自动控制。除具有弹性座封闸阀的优点之外,还具有灵敏、、安装方便等特点。电动软密封闸阀可广泛用于自来水、污水、建筑、石油、化工、食品、医药、轻纺、电力、船舶、冶金、能源系统等流体管线上作为调节和截流装置使用。
二、Z945X电动软密封闸阀特点:
电动软密封闸阀闸板整体包胶其良好覆盖性能以的尺寸密封的性,底部采用与水管相同的平底式不产生杂物淤积,另外阀门整体采用环氧树脂喷涂,防止腐蚀和生锈,不但可供饮用水系统,而且可用于污水系统。
三、Z945X电动软密封闸阀主要技术参数
|
公称通径 |
DN50-DN1200 |
|
公称压力 |
PN10/PN16 |
|
工作温度 |
0~80度 |
|
试验标准 |
GB13927 |
|
适用价质 |
水、油等 |
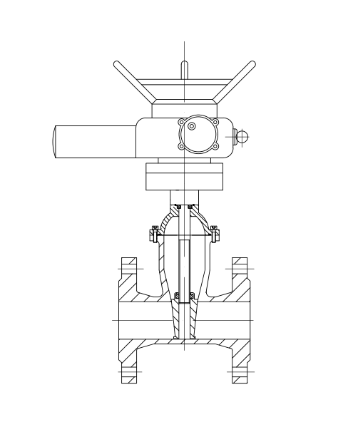
四、Z945X电动软密封闸阀结构图:

五、Z945X电动软密封闸阀主要零件材料
|
部件名称 |
材质 |
|
阀体 |
球墨铸铁 |
|
阀盖 |
球墨铸铁 |
|
阀杆 |
420、201、304、316 |
|
阀杆螺母 |
黄铜、球墨铸铁 |
|
阀瓣 |
球墨铸铁+EPDM |
|
支架 |
铸钢、球墨铸铁 |
|
电动头 |
可由客户指定 |
天津电动闸阀青岛电动闸阀




